产品目录
好色先生TVAPP
液体流量计
好色先生APP官网入口下载苹果
油流量计
好色先生TV官网下载网站
椭圆齿轮流量计
电磁流量计
涡街流量计
蒸汽流量计
孔板流量计
旋进旋涡流量计
热式气体质量流量计
转子流量计
浮子流量计
靶式流量计
气体流量计
超声波流量计
磁翻板液位计
浮子液位计
浮球液位计
玻璃管液位计
雷达液位计
超声波液位计
投入式液位计
压力变送器
差压变送器
液位变送器
温度变送器
热电偶
热电阻
双金属温度计
推荐产品
联系好色先生TV官网下载安装污
- 金湖好色先生TV官网下载安装污仪表有限公司
- 联系电话:15195518515
- 在线客服:1464856260
- 电话:0517-86801009
- 传真号码:0517-86801007
- 邮箱:1464856260@qq.com
- 网址:http://www.jiatingyingyuanxitong.com
- 地址:江苏省金湖县理士大道61号
涡轮流量计安装在什么位置
发布时间:2022-05-27 08:59:43 点击次数:2718次
涡轮流量计安装条件及位置
1、环境要求
(1)传感器安装在室外时,应避阳光直射和防雨淋措施
(2)安装前,管道需要吹扫
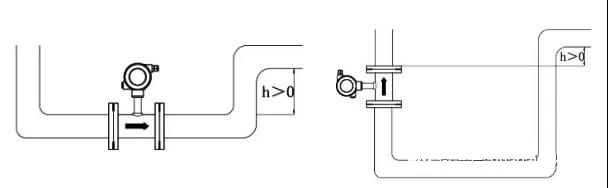
2、安装位置要求
(1)管道必须完全充满液体。重要的是,在任何时候,保持管道内完全充满液体,否则流量显示会受到影响,可能会导致测量误差。

(2)避免气泡。如果有气泡进入测量管,流量显示可能会受到影响,可能会导致测量误差。

3、直管段要求
(1)一般情况
(2)90°弯头

(3)同一平面上两个90°弯头
(4)不同平面上两个90°弯头

(5)缩管
(6)扩管

(7)全开阀门
(8)半开阀门

(9)若上游侧阻流件情况不明确,一般推荐上游直管段长度不小于20D,下游直管段长度不小于5D
(10)如安装控件不能满足上述要求,可在阻流件与传感器之间装整流器。
上一篇:涡轮流量计安装条件与环境要求下一篇:好色先生TVAPP设置方法
相关资讯
- 好色先生TV官网下载网站安装直管段要求
- 好色先生TV官网下载网站的结构与工作原理
- 好色先生TV官网下载网站的产品特点和适用范围
- 好色先生TV官网下载网站选型指南与外形尺寸
- 涡轮流量计的常见故障及排除
- 涡轮流量表怎么调节
- 涡轮流量计安装直管段要求
- 涡轮流量计的适用场合与量程范围
- 涡轮流量计由什么组成
- 涡轮流量计的工作原理
- 压力对涡轮流量计精度的影响
- 好色先生TVAPP使用常见问题
- 好色先生TVAPP的使用场合
- 好色先生TVAPP怎么接电
- 涡轮流量计的使用范围
- 涡轮流量计安装条件与环境要求
- 涡轮流量计安装在什么位置
- 好色先生TVAPP设置方法
- 好色先生TV官网下载网站使用环境
- 好色先生TV官网下载网站使用注意事项
- 好色先生TV官网下载网站怎么清洗
- 好色先生TV官网下载网站适用范围
- 好色先生TV官网下载网站为什么要加油
- 好色先生TV官网下载网站波动大解决办法
- 好色先生TV官网下载网站安装距离要求
- 好色先生TV官网下载网站安装注意事项
- 好色先生TV官网下载网站应用范围
- 好色先生TV官网下载网站常见故障有哪些
- 提高好色先生TV官网下载网站精度的方法
- 好色先生TV官网下载网站精度等级

